为进一步简化毕业生就业签约手续,提升就业管理服务水平,根据《教育部办公厅关于推广使用全国高校毕业生网上签约与毕业去向登记平台的通知》要求,我校自2024届毕业生开始全面使用教育部“全国高校毕业生网上签约与毕业去向登记平台”(以下简称“网签平台”)进行网上签约和毕业去向登记,现就有关事项通知如下:
一、登录方式
1.网签平台登录网址:https://dj.ncss.cn/
2.登录方式
毕业生:方式一为微信关注绑定“国家大学生就业服务平台”公众号,点击“去向登记”直接登录;方式二为登陆网签平台网站,点击“毕业生去向登记”,使用学信网账号登录。
用人单位:登陆网签平台网站,点击“用人单位在线签约”,注册登录后与毕业生进行签约。
二、网上签约流程
1.用人单位已在登记系统注册
线上签约流程:用人单位通过登记系统向毕业生发起签约邀请,经毕业生同意、院系及学校审核通过后,线上签约完成。

线上签约流程图
2.用人单位无法在登记系统注册
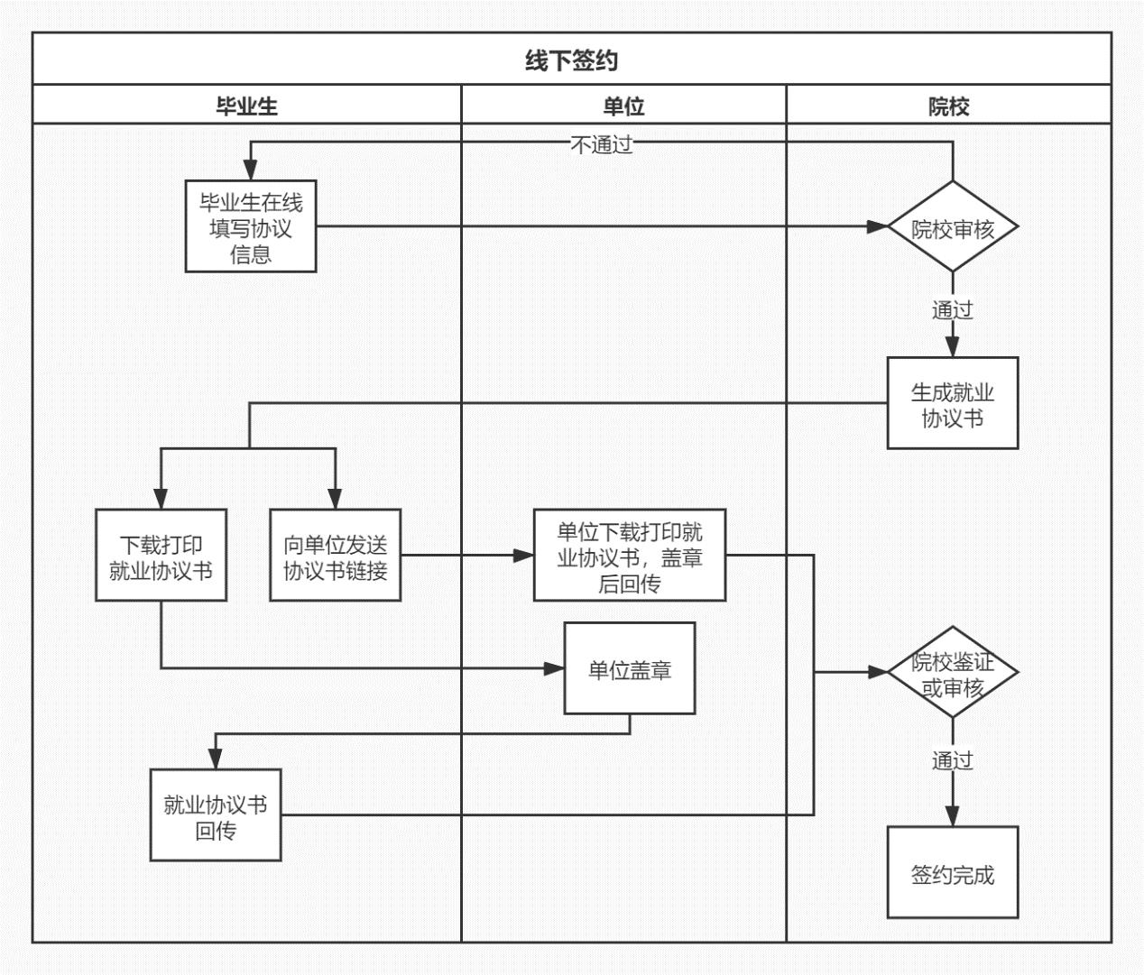
由毕业生主动向学校申请电子就业协议书进行线下签约。线下签约流程:毕业生通过登记系统在线申请电子就业协议书,需填写就业协议信息,经院系及学校协议审核通过后,生成电子就业协议书。毕业生或用人单位下载打印电子就业协议书,单位、学院、学校顺序盖章后,由毕业生或单位回传电子就业协议书图像,经院系及学校签约审核通过后,线下签约完成。

线下签约流程图
三、特别说明
1.网上签约电子就业协议书与纸质三方协议书效力相同,各院系可将“附件2”转发给有合作的用人单位,引导其完成网上签约平台的账号注册。
2.就业协议中关于档案寄送的相关信息非常重要,关系到毕业生离校时档案能否正确邮寄,填写信息时请务必提前了解当地或生源地落户及存档政策,保证信息填写完整准确。
3.毕业生只能与一家用人单位签约,一旦同意签约后,其他单位的签约邀请只能查看,无法操作。请毕业生认真考虑,慎重签约。
4.审核数据需院校二级共同审核。即每个毕业生申请新签约、填报去向登记、解约以及作废时,审核需“先院系再校级审核”。毕业生签约提交后,可联系院系负责就业的老师先审核,学校审核一般会在1-3个工作日内完成。
5.详细操作指南见附件1、2、3。